


串口服务器是一种用于串口通信的服务器设备。串口服务器能够将RS232、RS485、RS422等串口协议转换为TCP/IP协议网络接口,实现串口设备与网络的双向透明传输。通过串口服务器,串口设备可以轻松接入网络,实现远程访问、监控和配置,大大提高了工作效率和便利性。本文将会介绍串口服务器有什么作用和串口服务器的链接方法。
怎么让自动化技术行业的串口设备具有连接网络工作能力,马上连接网络?串口服务器让传统式的RS-232/422/485机器设备马上连接网络,运用经过TCP/IP的串口数据流分析传输的保持来操纵管理方法的机器设备硬件配置是致力于串口转以太网接口设计方案联接的公路桥梁。串口服务器如同每台带CPU、实时操作系统和TCP/IP协议书的微型电脑,便捷在串口和计算机设备中传送数据。
人们能够在全球任何地方经过互联网,用电脑来存储、管理和控制远程机器设备。串口服务器提供串口转互联网作用,RS232/485串口服务器可以将RS-232/RS485/RS422串口通信转化成TCP/IP网络接口,保持RS232、RS485、RS422串口与TCP/IP网络T以太网接口的统计数据双向透明传输。促使串口设备可以马上具有TCP/IP网络接口作用,网络连接开展数据通讯,巨大的拓展串口设备的通讯间距。
简单来说,一般的串口设备采用的485总线最远传输距离不超过1200米,我们为了让这些设备数据传输的更远,就有必要加入一个串口服务器,使得串口设备立即具备TCP/IP网络接口功能,通过互联网络进行数据通信,在任何有互联网络的地方就可以访问串口设备的数据。
串口服务器的作用主要体现在以下几个方面:
1、扩展通信距离:通过网络传输,串口设备可以实现远程通信,不再受限于传统的有线连接方式,大大扩展了通信距离。
2、实现设备联网:串口服务器让串口设备具备了联网能力,可以通过网络进行集中管理和控制,提高了设备的可管理性和可维护性。
3、简化通信协议:串口服务器将复杂的串口通信协议转换为简单的TCP/IP协议,降低了通信难度,提高了通信效率。
在实际应用方面,串口服务器完成是将TCP/IP协议的以太网接口映射为Windows操作系统下的一个标准串口,应用程序可以像对普通串口一样对其进行收发和控制,比如一般计算机有两个串口COM1和COM2,通过串口服务器可将其上面的串口映射为COM3、COM4、COM5等。
而最常用来连接这些设备的通讯界面就是RS-232和RS-422/485总线。以太网/互联网等网络架构已逐渐在自动化产业内被广泛的采用,取代传统的串口通讯而成为自动化系统通讯的主流。
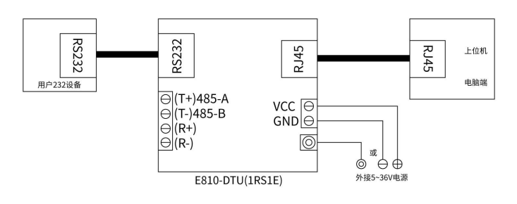
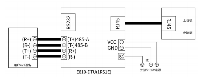
这里使用的以太网串口服务器是成都亿佰特电子科技有限公司的E810-DTU(1RS1E),该串口服务器是一款RS232& RS485&RS422接口串口服务器转以太网接口的单路串口服务器,实现了RJ45以太网网口与 RS232或RS485或RS422串口通信之间的数据透明传输。搭载M3系列32位处理器,运行速率快,效率高。该串口服务器具备自适应网络速率(最高支持10OM全双工)、TCP Server、TCP Client、UDP Server、UDP Client四种通信机制。实现了TCP/UDP与串口之间的双向数据透明传输的设备。内置操作系统,进行多任务处理更强,同时搭配TCP/IP网络协议栈,效率更高,更稳定。支持两路SOCKET同时工作,WEB 网页配置。E810-DTU(1RS1E)操作简单,用户可直接通过web网页对模块进行参数配置。轻松实现数据传输。



今天的分享就到这里啦,亿佰特人每一天都致力于更好的助力物联化、智能化、自动化的发展,提升资源利用率,更多串口服务器产品和串口服务器应用配置资料,感兴趣的小伙伴可以登录成都亿佰特官网进行了解,还有客服在线答疑哦!
串口服务器物联网应用案例推荐:
7 X 24 销售服务热线
4000-330-990©© 成都亿佰特电子科技有限公司【版权所有】 蜀ICP备13019384号


