

本教程方案主要介绍M31全系列LoRa分布式远程IO主机与E95-DTU数传电台实现工业远程检测和控制应用配置案例。需要注意的是选择410.125~493.125MHz频段分布式IO主机,需要选择同频段无线数传电台,LoRa分布式IO主机频段需要同无线数传电台频段一致。
为了连接测试我们需要准备以下设备:

E95-DTU数传电台使用USB转RS485设备连接电脑,如下图所示:

LoRa分布式IO主机系列仅需要连接电源线:

LoRa分布式IO主机系列的拨码保持以下状态:

【注】:本测试软件参数采用出厂默认参数。
LoRa分布式IO主机系列与E95数传电台组网时,需要关注以下参数均为一致:

LoRa分布式IO主机系列与E95-DTU数传电台均采用出厂默认参数即可。
为保证通讯成功通讯需要检查LoRa分布式IO主机系列的拨码开关是否为出厂状态,如图所示。

打开串口连接E95-DTU数传电台选择对应的串口波特率参数,选择16进制发送,取消自动换行,如图所示。

通过串口助手向E95-DTU发送 01 05 00 00 FF 00(打开第一路继电器)
可以看到LoRa分布式IO主机系列响应,闭合指定线圈。

手动按下IN1 按键,通过串口助手向 E95-DTU数传电台发送 01 02 00 00 00 08(读离散输入)
串口收到设备返回的离散输入当前状态。


结合E95-DTU使用可以通过E95-DTU系列电台连接配置工具组态,通过标准 MODBUS RTU指令控制LoRa分布式IO主机:

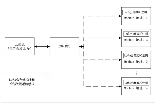
配合E95-DTU使用示意图
透传使用

本案例教程适用于M31全系列LoRa分布式远程IO模块产品。
今天的分享就到这里啦,EBYTE人每一天都致力于更好的助力物联化、智能化、自动化的发展,提升资源利用率,更多分布式远程IO模块产品以及相关配置应用资料,感兴趣的小伙伴可以登录我们的亿佰特官网进行了解,还有客服在线答疑哦!
相关阅读:
7 X 24 销售服务热线
4000-330-990©© 成都亿佰特电子科技有限公司【版权所有】 蜀ICP备13019384号


