

一、概述

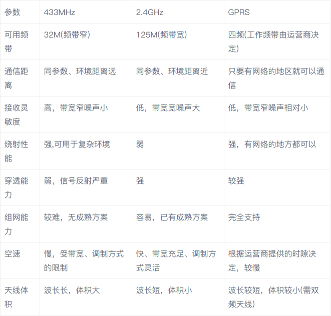
以上面三张图均来自成都亿佰特科技有限公司的产品,从左至右分别是基于SX1278射频芯片的433MHz模块,基于nRF24L01+射频芯片的2.4GHz模块以及GPRS模块,下表是三个频段的硬件参数比较。

433MHz和2.4GHz是免费的频段,可以选择最适合的去完成设计。
二、无线模块的区别及应用

结合各自的传输机制和相应的参数,下表描述了三种产品特性和应用。

根据433MHz灵敏度较高、绕射性较强以及抗干扰能力强的特性,因此非常适合于智能抄表、远距离遥控、路灯控制等数据量较小远距离稳定传输方案中,例如:成都亿佰特科技有限公司推出的E32系列产品。

当然,随着发展,433MHz为了弥补传输速率慢,传输数据少的短板,出现了具有连续传输特性的模块,比如上述公司推出的E61系列,透明传输情况下可以实现低至25ms的延迟时间。同时,为满足市场需求,433MHz也出现了支持全双工模式的无线模块。比如同公司推出的E62系列,针对通信距离近,可以将433MHz增大功率来解决,而且,选择高增益天线也可以增加通信距离。因此,目前基于433MHz的产品是具有稳定性和多样性的。
2.4G具有高速率可组网的优势,因此非常适合无线门锁、智能家居、安防监控等距离要求不高,但局域内各个设备灵活运用的场所。由于目前手持式和可穿戴产品的迅猛发展,所以对于电池使用率和低功耗要求比较严格, 2.4G在低功耗领域具有极大的优势,所以非常适合于手持式、可穿戴等低功耗领域。由于wifi模块等2.4G的产品已经普及,而2.4G的带宽资源是有限,因此针对2.4G能够自动识别干扰并切换频率的产品是一个突破点。

GPRS因为其工作与周围环境中的网络有关(基本已经覆盖),所以相对433M和2.4G来说,基本上没有距离的限制。其主要应用于工业领域,适合于工业控制、遥感监测、远程抄表以及智能交通领域等移动型的复杂应用环境中,当然,需要SIM卡进行相应的流量付费。
结语
总的来说,如果考虑成本,只需要远距离控制或者传少数据量传输,可以优先考虑433MHz产品,如果考虑成本、需要进行一个短距离复杂网络传输、低功耗的功能繁多可以选择2.4GHz产品。如果对于成本限制不高,但是要求稳定性复杂环境,移动式,通信范围广,建议选用GPRS产品。
7 X 24 销售服务热线
4000-330-990©© 成都亿佰特电子科技有限公司【版权所有】 蜀ICP备13019384号


