




| 射频参数 | 参数值 | 备注 |
| 工作频段 | 915 MHz | - |
| 发射功率 | 29.6~31.3dBm | 出厂默认 30dBm(约1W) |
| 接收灵敏度 | -115~ -117dBm | 空速 50kbps |
| 空中速率 | 5k, 50kbps | 用户编程控制 |
| 实测距离 | 6500米 | 晴朗空旷,天线增益5dBi,高度2.5m,空速 5kbps |
| 硬件参数 | 参数值 | 备注 |
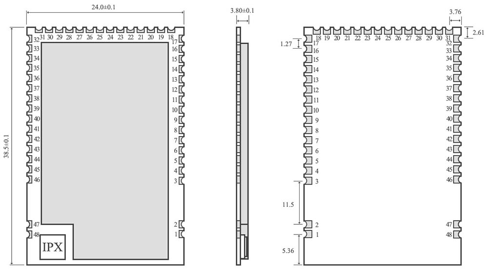
| 尺寸大小 | 24 * 38.5 mm | 不含SMA |
| 天线形式 | IPEX/邮票孔 | - |
| 通信接口 | UART串口 | 波特率支持1200~115200,出厂默认9600 |
| 封装方式 | 贴片 | - |
| 缓存容量 | 512字节 | 用户自定义 |
| 电气参数 | 最小值 | 典型值 | 最大值 | 单位 | 条件 |
| 工作电压 | 2.6 | 5.0 | 5.2 | V | 建议使用 5V |
| 通信电平 | 2.5 | 3.3 | 3.6 | V | 使用 5V TTL 有风险烧毁 |
| 发射电流 | 580 | 600 | - | mA | 瞬时功耗 |
| 接收电流 | 12 | 13 | 13 | mA | - |
| 休眠电流 | 1.0 | 2.0 | 3.5 | μA | - |
| 工作温度 | -40 | 20 | +85 | ℃ | - |
| 工作湿度 | 10 | 60 | 90 | % | - |
| 储存温度 | -40 | 20 | +125 | ℃ | - |

| 序号 | 引脚 | 引脚方向 | 备注 |
| 1-3、17、30、31、46、47 | GND | 参考地 | 模块地线 |
| 4-15、18-21、25、33-35、39-41 | NC | 预留脚 | 保留未用,需悬空 |
| 16 | LINK | 输出 | 用于指示模块当前网络连接状态。可配置为漏极开路输出,或推挽输出,详见参数设 置。使用时需外部串联一个1K的保护电阻(可以悬空) |
| 22 | TCKC | 输入 | JTAG TCKC |
| 23 | TMSC | 输入 | JTAG TMSC |
| 24 | RESET | 输入 | 模块复位脚,低电平有效 |
| 26 | M0 | 输入 | M1M0共同组合决定模块4种工作模式,使用时需外部串联一个1K的保护电阻,并且 加一个1M的上拉电阻(不可悬空,如不使用可接地) |
| 27 | M1 | 输入 | M1M0共同组合决定模块4种工作模式,使用时需外部串联一个1K的保护电阻,并且 加一个1M的上拉电阻(不可悬空,如不使用可接地) |
| 28 | VCC | - | 模块电源正参考,电压范围:2.6V ~ 5.5V DC |
| 29 | VCC | - | 模块电源正参考,电压范围:2.6V ~ 5.5V DC |
| 32 | ACK | 输出 | 用户指示模块数据发送结果,发送前拉低,成功后拉高,可配置为漏极开路输出,或 推挽输出。使用时需外部串联一个1K的保护电阻(可以悬空) |
| 36 | RXD | 输入 | TTL串口输入,连接到外部TXD输出引脚。可配置为漏极开路或上拉输入,详见参数 设置 |
| 37 | TXD | 输出 | TTL串口输出,连接到外部RXD输入引脚。可配置为漏极开路或推挽输出,详见参数 设置 |
| 38 | AUX | 输出 | 用户指示模块入网状态,用户通知外部MCU,可配置为漏极开路输出,或推挽输出, 使用时需外部串联一个1K的保护电阻(可以悬空) |
| 42 | PA_EN | 输出 | 内部单片机控制PA引脚,高电平有效,连接45引脚 |
| 43 | LNA_EN | 输出 | 内部单片机控制LNA引脚,高电平有效,连接44引脚 |
| 44 | LNA_EN | 输入 | 内部LNA使能引脚,高电平有效,连接43引脚 |
| 45 | PA_EN | 输入 | 内部PA使能引脚,高电平有效,连接42引脚 |
| 48 | ANT | - | 天线(50欧姆特性阻抗) |
| 在线购买 |
| 【亿佰特官方淘宝店】:https://www.taobao.com |
| 【京东商城】:https://i-item.jd.com |
| 【官方淘宝】:https://item.taobao.com |
| 【阿里巴巴】:https://detail.1688.com |
| 批量采购/定制产品 |
| 【销售专线】:4000-330-990 7x24小时销售服务热线 |
| 【联系邮箱】:support@cdebyte.com |
| 技术咨询 |
| 【在线提交】:http://www.ebyte.com/apple-technology.aspx |
| 【联系邮箱】:support@cdebyte.com |
| 常见问题 |
| ★ 问:M1、M0引脚是否可以直接接地 ? |
| 答:可以直接接地。 |
| ★ 问:通过AT指令工作模式重启以后,模块的工作模式以M1、M0的工作状态为准还是以上次AT指令 配置完后的工作模式为准 ? |
| 答:模块的重启后的工作模式和用户的配置是一致的(前提是M0、M1均不能为1否则会强制进入休眠模式;若AT配置模式是值为4,那么重启后也是以M0、M1的状态为准) |
| ★ 问:修改完串口波特率以后,下次进入配置模式时是修改完后的波特率还是默认的115200 ? |
| 答:配置模式一直是默认115200。 |
| ★ 问:如果不用复位引脚,是否可以悬空 ? |
| 答:如果不使用复位引脚,该引脚可以悬空。 |
| ★ 问:协调器之间能否相互通信 ? |
| 答:协调器之间不能相互通信。 |
| ★ 问:协助选型;1.要求模块采用 ISM频段 :如 433,315M,2.4G,470-510M,950-960M等均可;2.要求模块的接口采用SPI,串口或USB口;3.WiFi模块。 |
| 答:推荐了解下E70/E71/E76系列产品,但都不能全部满足需求。WiFi模块推荐使用E103-W02系列产品,如对成本有需求E103-W01。 |
| 产品 型号 | 接口类型 | 芯片方案 | 载波频率Hz | 发射功率dBm | 测试距离km | 空中速率 bps | 封装形式 | 产品尺寸mm | 产品特点 | 技术 手册 | 样品 购买 |
|---|---|---|---|---|---|---|---|---|---|---|---|
| E70-400M14S1B | UART I/O | CC1312R | 410M 490M | 14 | 1.5 | 20~1000k | 贴片 | 16*26 | 硬件SOC模块、高速连传 | ||
| E70-900MT14S | UART | CC1310 | 900M | 14 | 1.5 | 2.5k~168k | 贴片 | 10*10 | 超小体积,高速连续传输 | ||
| E70-433MT14S | UART | CC1310 | 433M | 14 | 1.5 | 2.5k~168k | 贴片 | 10*10 | 双核ARM,高速连续传输 | ||
| E70-900T30S | UART I/O | CC1310 | 868M 915M | 30 | 6 | 2.5k~168k | 贴片 | 24*38.5 | 双核ARM,高速连续传输 | ||
| E70-900T14S | UART I/O | CC1310 | 868M 915M | 14 | 1.5 | 2.5~168k | 贴片 | 16*26 | 双核ARM,高速连续传输 | ||
| E70-900T14S2 | UART I/O | CC1310 | 868M 915M | 14 | 1.5 | 2.5~168k | 贴片 | 14*20 | 双核ARM,高速连续传输 | ||
| E70-900M14S1B | UART I/O | CC1312R | 868M 915M | 14 | 1.5 | 20~1000k | 贴片 | 16*26 | ARM处理器,高速连传 | ||
| E70-915NW30S | UART | - | 915M | 30 | 6.5 | 2.5~168k | 贴片 | 24*38.5 | 星型自组网,200节点并发 | ||
| E70-915NW14S | UART | - | 915M | 14 | 2.5 | 2.5~168k | 贴片 | 16*26 | 星型自组网,200节点并发 | ||
| E70-DTU(433NW30-4G) | - | 4G | - | - | 支持 | 支持 | 压线/DB9 | 108*75*37 | 星型自组网 | ||
| E70-DTU(433NW30) | RS232 RS485 | - | 433M | 30 | 6.5 | 5k~50k | 压线 | 82*62*25 | 多发一收,星型自组网,200节点并发 | ||
| E70-433NW30S | UART | - | 433M | 30 | 6.5 | 2.5~168k | 贴片 | 24*38.5 | 星型自组网,200节点并发 | ||
| E70-433NW14S | UART | - | 433M | 14 | 2.5 | 2.5~168k | 贴片 | 16*26 | 星型自组网,200节点并发 | ||
| E70-433T14S2 | UART I/O | CC1310 | 433M | 14 | 1.5 | 2.5k~168k | 贴片 | 14 * 20 | 双核ARM,高速连续传输 | ||
| E70-433T30S | UART I/O | CC1310 | 433M | 30 | 6 | 2.5k~168k | 贴片 | 24 * 38.5 | 连续传输,双核ARM | ||
| E70-433T14S | UART I/O | CC1310 | 433M | 14 | 1.5 | 2.5~168k | 贴片 | 16 * 26 | 双核ARM,高速连续传输 |